
MIL-DTL-22442/25B(AS)
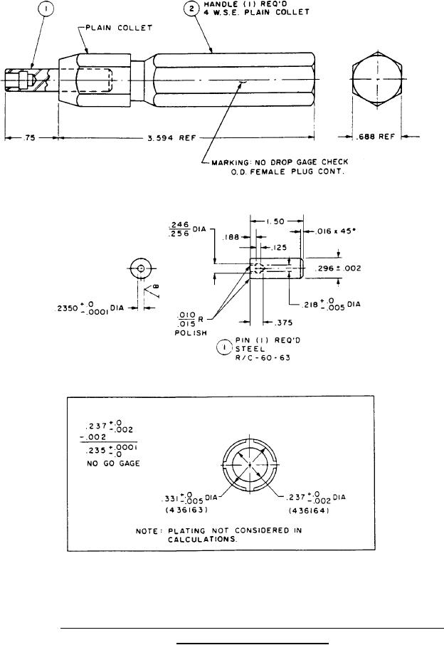
FIGURE 13. M22442/25-11 No drop gage to check OD of female plug contact and OD
of center female plug contact.
15
For Parts Inquires submit RFQ to Parts Hangar, Inc.
© Copyright 2015 Integrated Publishing, Inc.
A Service Disabled Veteran Owned Small Business