
MIL-DTL-22442/25B(AS)
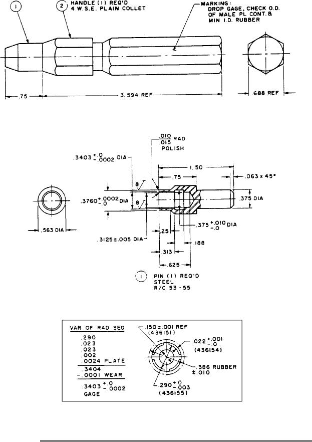
FIGURE 7. M22442/25-5 Drop gage to check OD. of male pl contact & min ID rubber.
9
For Parts Inquires submit RFQ to Parts Hangar, Inc.
© Copyright 2015 Integrated Publishing, Inc.
A Service Disabled Veteran Owned Small Business